1/0


Beskrivelse
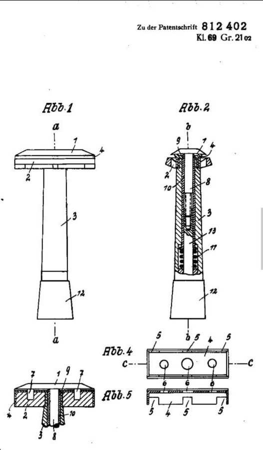
Apollo 'Mikron' 2.gen NOT Gillette - Vintage Double Edge Safety Razor Set
***The razor/case have been cleaned and are therefore suited for being used or being displayed nicely
***International traceable shipping included in the price via 'PostNord'(from Denmark)
I have other razors for sale!
***The razor/case have been cleaned and are therefore suited for being used or being displayed nicely
***International traceable shipping included in the price via 'PostNord'(from Denmark)
I have other razors for sale!
Andre har også set på
Mere til dig
Apollo 'Mikron' 2.gen NOT Gillette - Vintage Double Edge Safety Razor Set
Slutter 2 nov. 21:45
5 901 SEK
6 198 SEK med køberbeskyttelse.