1/0


Beschrijving
Vertaald door
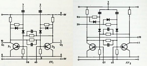
Se bilderna.En föregångare på sätt och vis till IC. Samlarobjekt. Ej testad.
Säljes utan garanti eller returrätt.
Mina auktioner har under den senaste tiden mest handlat om olika föremål med anknytning till radiohistoria och radioteknik. Allt kommer från ett privat, numera nedlagt, radiomuseum där innehavaren har samlat radiorelaterade föremål i över 50 år. Utbudet är så stort att det blir auktioner året ut, minst. Så håll utkik efter fina grejer som både är sällsynta och unika.
Mina auktioner slutar (nästan) alltid på söndagskvällar. Betalning skall ske när auktionen är slut, antingen direkt eller så snart du i förekommande fall har begärt samfrakt och fått svar från mig. Måndagen går åt till att packa och på tisdag vid lunchtid lämnar jag alla försändelser till mitt ombud för Postnord och Schenker.
Kolla gärna mina övriga auktioner för fler fina objekt.
Anderen vonden het ook leuk
Meer voor jou
Philips digital circuits block FF1 (23410)
Stopt 12 okt 18:56
Start prijs:
∙0 Biedingen
SEK 49